分散机,也被称为搅拌机,是一种用来将漆料,颜料等材料进行均匀混合,配合砂磨机分散的设备。目前分散机的高速分散效果也已经被应用于超细颜料直接分散设备。
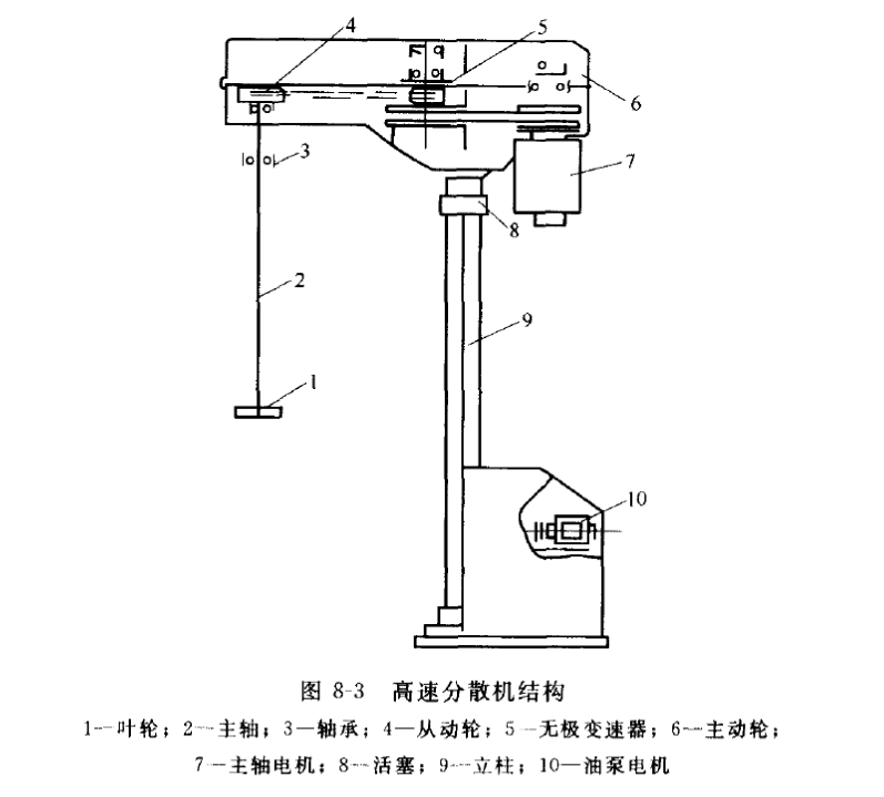
分散机的基本结构是由电动机,分散叶轮,配料罐组成。
电动机:分散机的电动机可以通过变速来使主轴转动。
分散叶轮:分散机主轴下面有一个分散叶轮,通过主轴的转动可以带动分散叶轮高速旋转,并且对物料产生混合与分散作用。
分散轴下的分散叶轮是一种锯齿型叶轮。在叶轮的圆周边缘上下交错弯成锯齿型,其倾斜角与沿切线方向成20°~40°,叶轮转动时每个齿的立缘面可产生强冲击作用。齿外缘面推动物体向外流动,形成循环与剪切力。
高速分散的机头:可以通过借助液压进行升降调控,并且可以绕立柱做180°~360°的旋转。
分散过程中,锯齿附近的物料一部分被加速抛出,一部分想内减速滑过齿内缘面强化剪切作用,漆料循环到锯齿附近,不断受到加速和滑切,在粘度作用下被分散,锯齿之间的齿孔可以形成气浊,以增大颜料粒子的分散效果。
配料罐:是一种用来装分散材料的工具。

1、分散机的品牌和类型有很多种,要根据不同的粘度和材料,选择合适的分散机进行研磨分散。
2、高速分散机中,材料的分散过程中不能盲目提高转速,要根据不同的材料组成以适应的高速分散机性能,提高分散效率。
3、分散机的分散时间不能过长,一般在10~15分钟左右。
4、分散机使用时间太长,其叶轮会磨损,降低分散效率,这时应该随时更换叶轮。
5、注意不能将高速分散机空车运行,操作过程,要慢速启动和慢速停车,操作结束后腰刷洗干净。
德国VMA进口的高速分散机是目前备受欢迎的分散机品牌,其多款创新工艺操作系统,多转子自由切换,以及几种不同的研磨系统实现不同的研磨效果等优势,让分散效果更加理想。另外,用户还可以选择不同功能型号的VMA分散机来达到更佳分散效果。
以上就是针对分散机的相关知识的简单介绍,如有疑问,可以随时致必威网站主页官网入口网址客服进行咨询了解。