ISO 7326是关于橡胶和塑料软管—静态条件下的耐臭氧性评估的检测标准。
前言
ISO(国际标准化组织)是国家标准机构(ISO成员机构)的全球联合会。制定国际标准的工作通常是通过ISO技术委员会来进行的。对建立了技术委员会的主题感兴趣的每个成员机构均有权代表该委员会。与ISO联络的政府和非政府国际组织也参加了这项工作。 ISO在电气标准化的所有问题上与国际电工委员会(IEC)紧密合作。
国际标准是根据ISO/IEC指令第2部分中给出的规则起草的。
技术委员会的主要任务是准备国际标准。技术委员会通过的国际标准草案已分发给成员机构进行投票。作为出版物国际标准要求至少75%的投票机构批准。
请注意,本文档的某些内容可能是专利权的主题。 ISO对识别任何或所有此类专利权概不负责。
ISO 7326由技术委员会ISO/TC 45(橡胶和橡胶产品,SCI小组委员会,软管(橡胶和塑料))准备。
第三版取消并替代了经过技术修订的第二版(ISO 7326:1991)。
介绍
本国际标准中描述的方法提供了一种评估软管在静态条件下对大气臭氧有害影响的抵抗力的方法。
1范围
本国际标准规定了五种确定软管外套的耐臭氧性的方法:
方法1,在软管本身上进行,孔径不超过25 mm;
方法2,对于直径大于25毫米的孔,从软管壁上的试件上进行;
方法3,对于孔径大于25 mm的情况,从盖上的试件上进行;
方法4,对于所有孔径的软管,均应执行;
方法5,对于所有内径尺寸,都在可膨胀的软管(例如,纺织增强软管)上执行。
注:对于无法从其上取下试件的带有内置配件的软管,可使用已硫化至相同程度的适当聚合化合物试纸,根据ISO 1431-1在平板上评估耐臭氧性。
2规范性引用文件
以下参考文件对于本文件的应用是必不可少的。凡是注日期的引用文件,仅所引用的版本适用。凡是不注日期的引用文件,其最新版本(包括所有的修改单)适用于本标准。
ISO 1431-1:2004,硫化橡胶或热塑性橡胶—耐臭氧龟裂—第1部分:静态和动态应变测试
ISO 23529,橡胶—物理测试方法准备和调节测试件的通用程序
3一般考虑
方法1和2是通常使用的方法,仅当不可能根据方法2进行测试时才使用方法3。方法4适用于所有孔径。方法5特别用于测试处于膨胀状态的可膨胀软管。
即使被测软管的外皮成分相同且已固化至同样的程度。使用的测试方法应符合产品标准中的规定。
4仪器
放置在测试柜中的所有设备均应使用不会吸收或分解臭氧的材料制成。
4.1臭氧柜,带有产生臭氧以及监测和控制臭氧浓度的设备,如ISO 1431-1中所述。
4.2试件支架,如图1所示(方法1)。
4.3如图2所示,试件支架例如由涂有油漆或铝的木材制成(用于方法2)。
4.4夹具,用于拉长试件(方法3)。
应遵循ISO 1431-1:2004第5.6节中给出的详细信息。
4.5圆柱体,如图3所示,外径是被测试软管的八倍(方法4)。
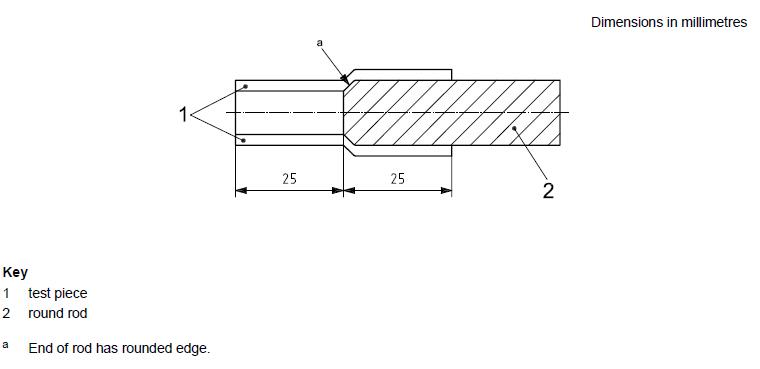
4.6圆杆,如图4所示,外径为被测软管内径的1,2倍(方法5)。
5试件
5.1试件类型
5.1.1方法1
试件应由软管样品组成。长度应通过以下公式计算
L =π(rb + dext)+ 2dext
式中:
L是试片的长度;
rb是被测软管的弯曲半径,如8.1.1所述;
dext是被测软管的外径。
5.1.2方法2
试件应包括一条从软管上纵向切下的条。 条带应为150毫米长和25毫米宽。
5.1.3方法3
试件应包括一条宽度为25 mm的软管盖条,从软管上纵向取下。
根据ISO 23529轻轻抛光带材的底面,以消除任何加固痕迹,从而确保沿带材长度的应力均匀。
5.1.4方法4
试件应由足够长的软管样本组成,该软管样本至少应绕圆柱体缠绕一次,以用于测试。
5.1.5方法5
试件应由直的软管组成,长约50 mm。
5.2试件数量
应测试三个试件。
6试样的调理
在制造后的24小时内不得进行任何测试。
制造和测试之间的时间间隔应符合ISO 23529的规定。要进行可比较的评估,应尽可能在制造后的相同时间间隔后进行测试。
按照适当程序所述安装的试件应在标准温度(参见ISO 23529),无光或暗光的条件下,在基本上无臭氧的气氛中调节48小时。
7测试条件
除非相关软管规格中规定了其他条件,否则在(40±2)°C的温度下,将测试件暴露在臭氧浓度为(50±5)百万分之一(pphm)的臭氧柜中(72-20)h中。
注:已经发现,当试件暴露于以百万分之一表示的恒定臭氧浓度时,大气压力的差异会影响臭氧裂解。可以通过以分压(即毫帕斯卡)表示臭氧化空气中的臭氧含量,并在恒定臭氧分压下进行比较来考虑这种影响。在大气压和温度的标准条件下(101 kPa,273 K),1 pphm的浓度等于1,01 mPa的分压。
8程序
8.1方法1
8.1.1将每个试件安装在试件支架(4.2)上,如图1所示。半径rb应当等于被测软管的规定最小弯曲半径,如果未指定,则等于其六倍内部直径。
8.1.2用盖子密封试件的端部,以防止内衬和加强层吸收臭氧。
8.1.3在2小时,4小时,24小时,48小时和72小时的暴露时间后,在仍处于扩展状态下,以×2放大倍率检查试件,而忽略邻近固定点的区域。如果发现裂缝,请记录其性质和首次观察到的时间。

图1 —方法1的安装软管的布置
8.2方法2
8.2.1如图2所示,将每个试件安装在试件支架(4.3)上,以达到在20毫米的距离上测得的软管盖所需的伸长率。如果没有其他规定,覆盖层的伸长率应为20%。用耐臭氧漆在每个试件的边缘和衬里上涂漆。
8.2.2在2 h,4 h,24 h,48 h和72 h的暴露时间后,仍在延伸状态下以×2放大倍率检查试件,而忽略邻近固定点的区域。如果发现裂缝,请记录其性质和首次观察到的时间。
8.3方法3
8.3.1将每个试件安装在夹具(4.4)中,并施加20%的伸长率。
8.3.2在2小时,4小时,24小时,48小时和72小时的暴露时间后,在仍处于扩展状态下,以×2放大倍率检查试件,而忽略邻近固定点的区域。如果发现裂缝,请记录其性质和首次观察到的时间。

图2 —方法2的试件安装在支架上
8.4方法4
8.4.1将每个试件缠绕在外径为软管直径八倍的圆柱体上,如图3所示。
8.4.2在2 h,4 h,24 h,48 h和72 h的暴露时间后,以×2放大倍率检查试件,而忽略试件末端绑在一起的区域。如果发现裂缝,请记录其性质和首次观察到的时间。

图3 —缠绕在圆柱上的测试件(方法4)
8.5方法5
8.5.1将外径为软管内径1,2倍的圆棒插入每个试件中,如图4所示。
8.5.2在2小时,4小时,24小时,48小时和72小时的暴露时间后,以×2放大倍数检查试样的两端和外壳。如果发现裂缝,请记录其性质和首次观察到的时间。
图4 —将圆棒插入测试件中(方法5)
9测试报告
测试报告应包括以下信息:
a)引用本国际标准;
b)对测试软管的完整描述;
c)使用的方法(1、2、3、4或5);
d)测试条件的细节,即臭氧浓度,温度,暴露时间和伸长率(如适用);
e)是否观察到裂纹,如果观察到,其性质和首次观察到裂纹的时间;
f)测试日期。
必威网站主页官网入口网址公司代理的德国ANSEROS安索罗斯臭氧箱满足ISO 7326测试标准。
1.德国ANSEROS安索罗斯臭氧老化箱介绍
德国ANSEROS安索罗斯公司依据国际标准如ASTM、ISO和DIN发展并制造了臭氧测试系统,为用户测试橡胶产品的臭氧老化提供了可靠的测试条件。
德国ANSEROS安索罗斯公司SIM系列臭氧箱专门用于电缆和密封件的测试,其功能包括:自动PLC控制,精确模拟和控制温度、湿度、臭氧浓度;不同的工具帮助您进行多项静态和动态测试。使用ANSEROS公司臭氧测试系统,您能够实现任何橡胶制品的加速老化,从而预测产品寿命。
臭氧老化试验箱一般均具有3大主要部分,即臭氧发生器、老化试验箱、臭氧浓度控制与检测装置等。
2.德国ANSEROS安索罗斯臭氧老化箱型号


(2)德国ANSEROS安索罗斯臭氧老化箱 SIM 7500型号


(3)德国ANSEROS安索罗斯臭氧老化箱 SIM 6050-T型号


(4)德国ANSEROS安索罗斯臭氧老化箱 SIM 6010-T型号


(5)德国ANSEROS安索罗斯臭氧老化箱 SIM 8000型号
